Question 48
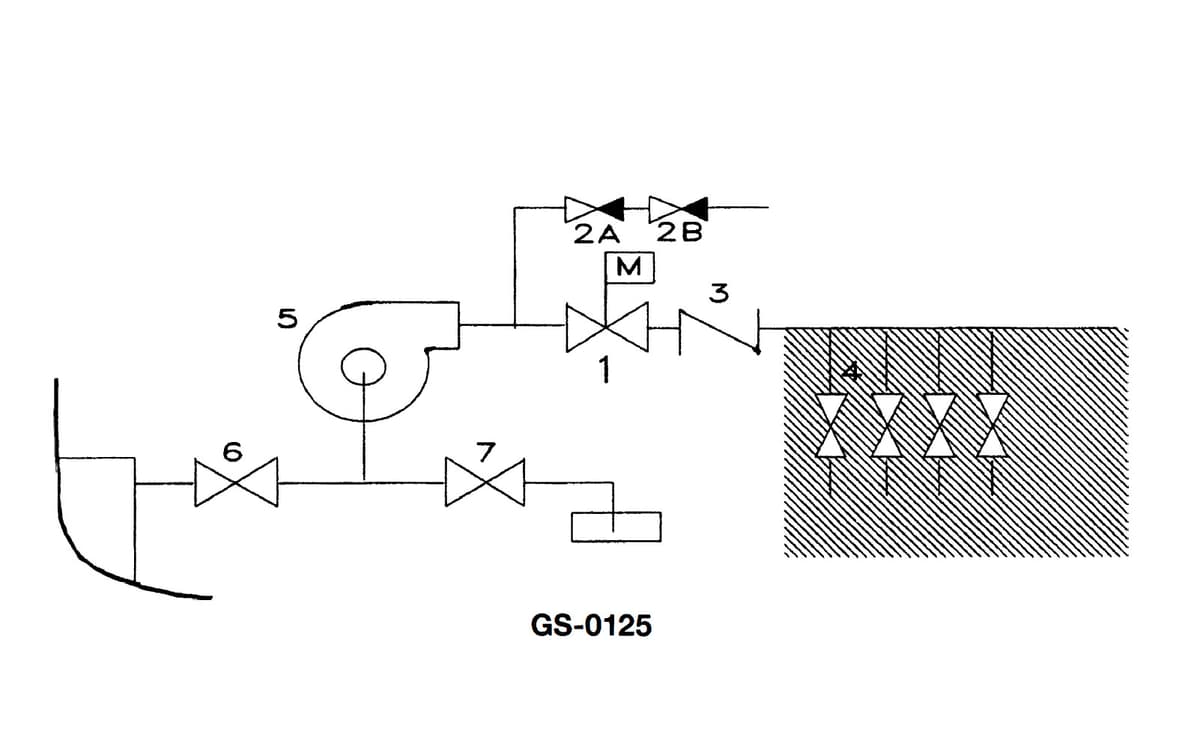
QMED04Item 4 shown in the illustration represents a __________. Illustration GS-0125

AI Explanation
The Correct Answer is A
**Explanation for A (manifold):**
In marine engineering or process systems (which illustrations like GS-0125 often depict, focusing on piping schematics), a manifold is a pipe or chamber having several outlets or inlets that serves to divide or combine fluid flow. Item 4, based on standard illustrations of fluid handling systems, typically represents a section where multiple lines converge into a common header (inlet manifold) or diverge from a common header (distribution manifold). This component is designed to manage the flow control and routing for several separate pipelines, which is the defining function of a manifold.
**Explanation for Incorrect Options:**
* **B) suction line:** A suction line is a single pipe that draws fluid into a pump or system. While lines connected to the manifold may be suction lines, the manifold (Item 4) itself is the distributing/collecting device, not just a single flow line.
* **C) bilge system:** A bilge system is the overall network of piping, pumps, and valves designed to remove water from the lower compartments (bilges) of a vessel. Item 4 is a specific component *within* a larger fluid system (which could be the bilge system), but it is not the entire system itself.
* **D) vacuum branch line:** A vacuum branch line is a specific type of piping used to draw a vacuum. Like a suction line, this describes a single pipe's function. The manifold (Item 4) is the central fitting that connects multiple such lines, rather than being a single branch line.
Related Questions
#46 Which characteristic of fuel oil is the most significant when determining the temperature to which the fuel oil
must be heated for proper atomization?#47 In order for microbiological growths to thrive in a fuel tank it is necessary for __________.#49 Steam supplied to the main propulsion turbines is ________.#50 Which of the following conditions represents a particular advantage of using a positive pressure type self- contained breathing apparatus in an atmosphere that is immediately dangerous to life or health?#51 Condensate return lines from tank heating coils are led to the __________.