Question 1294Deck Safety70% to pass
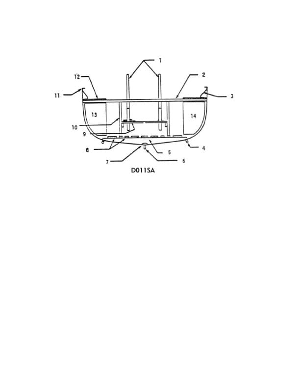
In illustration D011SA below, what does the item labeled number (1

AI Explanation
The correct answer is A.
In the illustration D011SA, the item labeled number (1) represents the anchor.
This is based on the standard nautical symbol and convention for depicting an anchor in navigation charts and illustrations. The anchor symbol (1) in the illustration matches the standard representation of an anchor used in maritime navigation.
The other options (B, C, D) do not correspond to the anchor symbol in the given illustration.
Related Questions
#1292 In illustration D012SA below, what will be released when pulling on line number 5? #1293 At a speed of 6 knots the fuel aboard a survival craft should last _______________.#1295 The lever shown in illustration D013SA below is operated when a lifeboat is which of the following positions? #1296 In illustration D016SA below, what number indicates the frapping line? #1297 In illustration D012SA below, what is the mechanism that will release the tricing pendant?