Question 440Electricity/Electronics - Assistant Engineer70% to pass
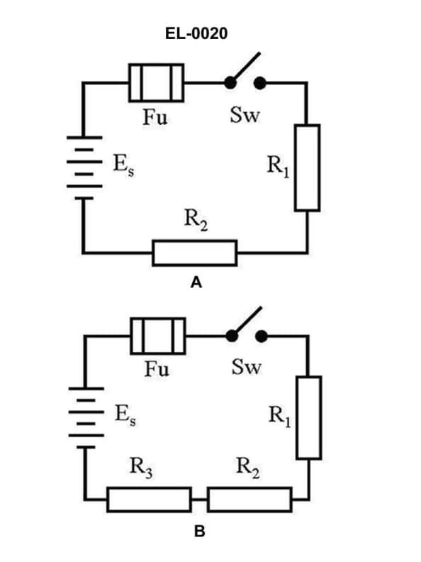
What is the total resistance of figure "B" of the illustrated circuit if the resistance of R1 is 3 ohms, R2 is 4 ohms, and R3 is 5 ohms? Illustration EL-0020

AI Explanation
The correct answer is D) 12 ohms.
The total resistance of the illustrated circuit (figure "B") is calculated by adding the individual resistances of R1, R2, and R3 in parallel. In this case, R1 is 3 ohms, R2 is 4 ohms, and R3 is 5 ohms. To find the total resistance, we can use the formula for the reciprocal of the total resistance in a parallel circuit: 1/Rtotal = 1/R1 + 1/R2 + 1/R3. Plugging in the values, we get 1/Rtotal = 1/3 + 1/4 + 1/5, which simplifies to 1/Rtotal = 0.083333. Taking the reciprocal, we arrive at the total resistance of 12 ohms.
The other options are incorrect because they do not accurately represent the total resistance of the parallel circuit described in the question.
Related Questions
#438 In a 60 Hz AC system, what is the duration in seconds for one complete cycle? #439 An AC generator produces 60 Hz at 1800 RPM. If the generator speed is increased to 1830 RPM, what will happen to the frequency in Hz? #441 In the illustration, 1, 2, 3 and 4 are 12 volt batteries. What will be the nominal voltage as read by a voltmeter across the output of the battery bank? Illustration EL-0107 #442 A 125 volt DC motor is rated at 10 kW. What is the current rating of the motor? #443 In a simple DC circuit, the resistance is held constant while the applied voltage is halved. What will be the effect on the current flow as compared to the original current?