Question 305Electricity/Electronics - QMED70% to pass
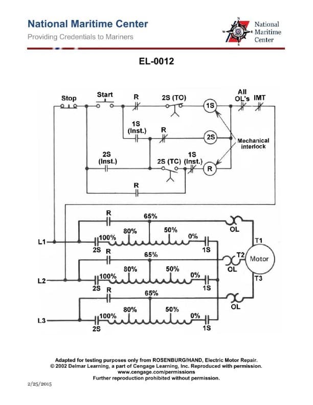
In the illustration shown, what would be the functional name for the coil represented as '1S'? Illustration EL-0012

AI Explanation
The correct answer is A) neutral contactor coil (for autotransformer wye connection).
This is the correct answer because the '1S' coil in the illustration represents the neutral contactor coil, which is used in an autotransformer wye connection to control the neutral point. This coil is responsible for switching the neutral connection during different operating modes of the autotransformer.
The other options are incorrect because they do not accurately describe the function of the '1S' coil in the context of an autotransformer wye connection. Option B is incorrect as it refers to a 0% contactor coil, which is not the same as the neutral contactor coil. Options C and D are also incorrect as they describe different contactor coils not associated with the neutral point in an autotransformer wye connection.
Related Questions
#303 Low horsepower, polyphase, induction motors can be started with full voltage by means of which kind of starter? #304 As shown in the illustration, which of the following conditions will occur as a result of a momentary loss of power? Illustration EL-0017 #306 If the line voltage to the controller shown in the illustration is 440 volts, what is applied across the control circuit assuming the control transformer has a 4:1 turns ratio? Illustration EL-0080 #307 As shown in the illustration, if the line voltage is 450 VAC, what would be the applied voltage to the motor at the instant of startup and through the acceleration period? Illustration EL-0012 #308 A three-phase, induction-type motor experiences an open in one phase. Which of the listed automatic protective devices will prevent the motor from being damaged?