Question 173General Subjects - Assistant Engineer70% to pass
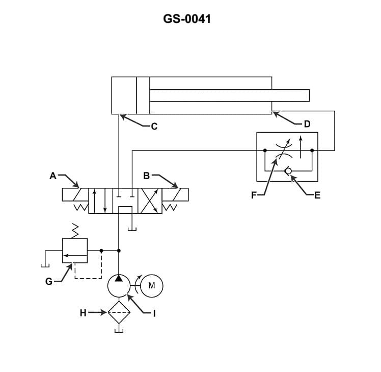
Which of the following components listed is shown in the illustration? Illustration GS-0041

AI Explanation
The correct answer is A) Filter.
The illustration GS-0041 shows a filter component, which is a common component in various maritime systems. Filters are used to remove impurities, contaminants, or unwanted particles from fluids, such as fuel, lubricating oil, or hydraulic fluid, to ensure the proper functioning and longevity of the system.
The other options, B) Variable displacement pump, C) Heat exchanger, and D) All of the above, are not depicted in the provided illustration, and therefore, they are incorrect answers.
Related Questions
#171 Which of the following statements concerning the operation of a single-acting hydraulic ram is correct? #172 In application, which of the listed sealing devices is most similar to an O-ring? #174 An internal bypass is provided on some hydraulic system suction strainers to help reduce the possibility of _______________.#175 An improperly maintained filter used in a hydraulic system can _______________.#176 Strainers are commonly used in hydraulic systems to _______________.