Question 289General Subjects - Assistant Engineer70% to pass
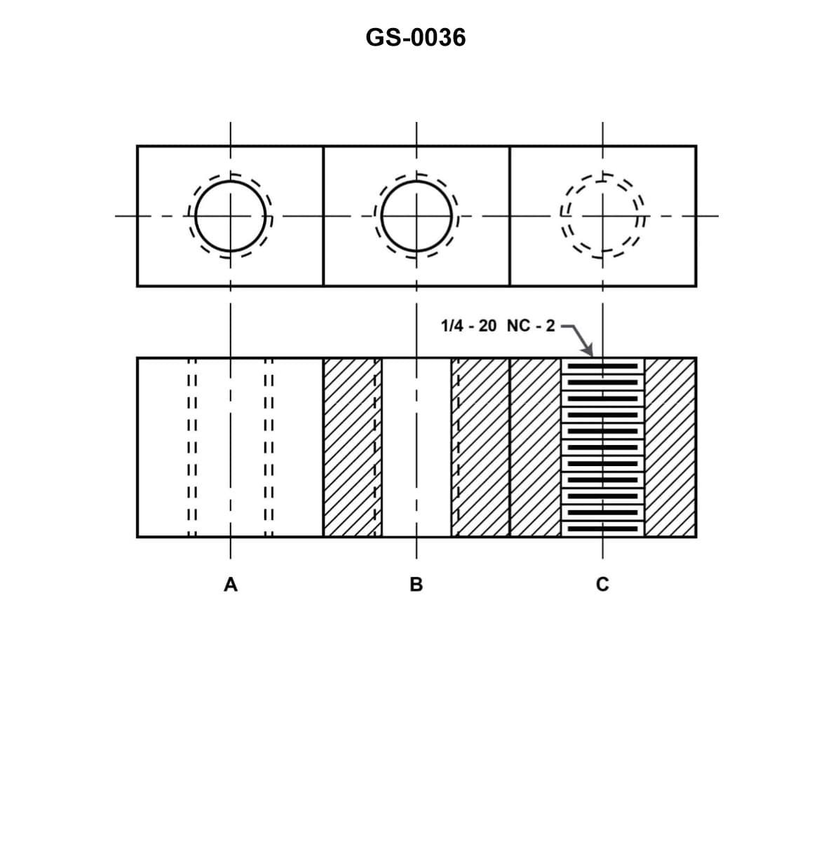
In the figure shown in the illustration, the standard blueprint symbols above the letters "A", "B", and "C" indicate . Illustration GS-0036

AI Explanation
The correct answer is A) the use of internal threads.
The standard blueprint symbols above the letters "A", "B", and "C" in the illustration GS-0036 indicate the use of internal threads. This is a common drafting convention used to represent threaded holes or openings in engineering drawings and blueprints.
The other answer choices are incorrect because: B) hole tolerance refers to the allowable variation in the size of a drilled hole, C) finished diameter indicates the final size of a part or feature, and D) interference fit refers to a tight mechanical connection between two mating parts, not the use of internal threads.
Related Questions
#287 The letters 'NPT' used in the notation 1/8-27 NPT as shown in the illustration, indicates the _______________. Illustration GS-0010 #288 In the illustration, line "C" is a _______________. Illustration GS-0006#290 How many hidden lines are shown in the right side (end) view of the drawing illustrated? Illustration GS-0021 #291 In the illustration, line "D" is a/an _______________. Illustration GS-0006#292 A 'centerline' depicted in a drawing or blueprint is represented by which of the figures shown in the illustration? Illustration GS-0031