Question 394General Subjects - Assistant Engineer70% to pass
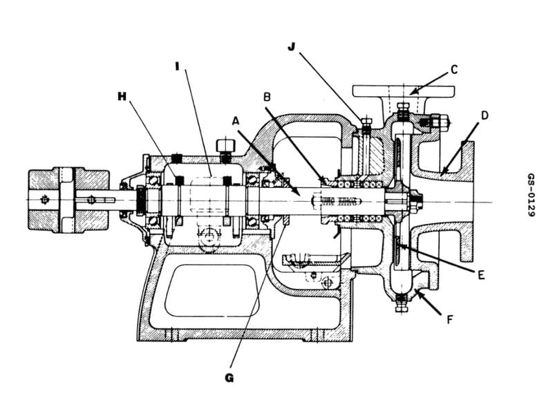
Item "B" in the pump illustration is the _______________. Illustration GS-0129

AI Explanation
The correct answer is D) packing gland.
The packing gland is the component labeled as item "B" in the pump illustration GS-0129. The packing gland is responsible for creating a seal around the pump shaft, preventing leakage from the pump. This is a critical component for the proper and safe operation of the pump.
The other answer choices are incorrect because: A) the wearing ring is a separate component, C) the shaft sleeve is also a different component, and B) the stuffing box is a different part of the pump assembly.
Related Questions
#392 Which of the following statements represents the main difference between a stuffing box gland and a mechanical seal for sealing the shaft of a centrifugal pump? #393 Which of the materials listed is used as the dynamic seal material on mechanical seals installed on most centrifugal pumps used in water service? #395 Which type of pump would normally be used to transfer fairly large quantities of fluids at relatively low pressures? #396 Which of the pumping systems listed for use aboard ship will most likely use a propeller type pump? #397 The suction-force principle of operation is a typical characteristic of _______________.