Question 130Motor Plants - Assistant Engineer70% to pass
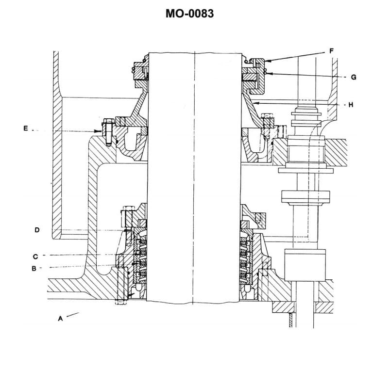
There are two glands provided where the piston rod exits the cylinder shown in the illustration. The purpose of the top gland is to_______________. Illustration MO-0083

AI Explanation
The correct answer is A) seal against scavenge air leakage.
The top gland where the piston rod exits the cylinder is designed to prevent leakage of the scavenge air from the cylinder. Scavenge air is the air used to purge the cylinder of exhaust gases during the engine's operation. The top gland forms a seal to keep this scavenge air from escaping, which would reduce the engine's efficiency.
The other answer choices are incorrect because they do not accurately describe the primary purpose of the top gland. Option B is incorrect as the top gland does not prevent crankcase oil leakage. Option C is incorrect as the top gland does not maintain crankcase vacuum. Option D is incorrect as the top gland does not maintain crankcase pressure.
Related Questions
#128 Which of the following processes is indicated by the flow arrows shown in the illustration? Illustration MO-0026 #129 Which of the listed design features is most common with a two-stroke cycle, low- speed main propulsion diesel engine? #131 The diesel engine shown in the illustration, the exhaust manifold is indicated by the letter_______________. Illustration MO-0003 #132 The opening of an exhaust valve on a modern, large, low-speed, main propulsion diesel engine, may be actuated by_______________.#133 The exhaust ports shown in the illustration are identified with the letter '_______________'. Illustration MO-0003