Question 176Motor Plants - QMED70% to pass
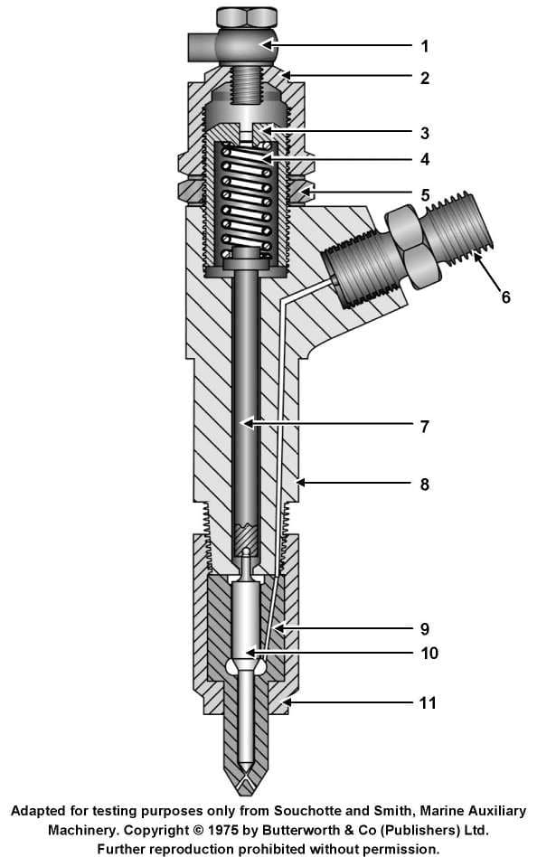
The illustrated device is operated directly by_______________. Illustration MO-0041

AI Explanation
The correct answer is B) fuel oil pressure.
The illustrated device is likely a fuel injector, which is operated directly by the fuel oil pressure in the fuel system. The fuel oil pressure is what forces the fuel through the injector nozzle and into the engine cylinder, allowing the engine to function.
The other answer choices are incorrect because: A) a rocker arm and push rod are not involved in the direct operation of a fuel injector, C) cam action is not the primary driver of a fuel injector, and D) excessively high combustion pressure would not be the direct operating mechanism for a fuel injector.
Related Questions
#174 Lube oil pumps taking suction from the sump of most small marine engines are usually _______________.#175 The main advantage of unit injectors over other fuel injection systems is _______________.#177 Movement of the pump control rack in a fuel injection system using individual plunger-type pumps _______________.#178 Injection pressure in a common rail fuel system is controlled by_______________.#179 Fuel oil discharged into the diesel engine cylinder is atomized at the _______________.