Question 202Safety & Environmental - QMED70% to pass
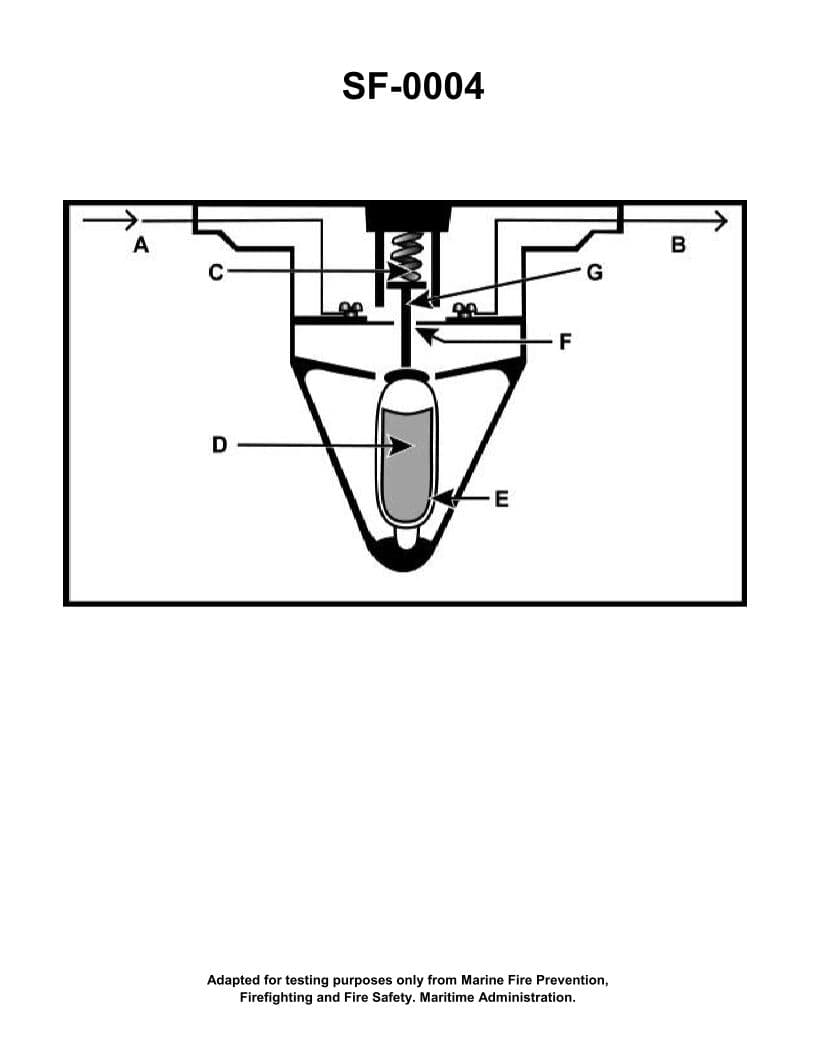
The component shown in the illustration would be installed in which of the following types of fire detection systems? Illustration SF-0004

AI Explanation
The correct answer is A) Fixed temperature.
The component shown in the illustration SF-0004 is a fixed temperature fire detector. Fixed temperature detectors are designed to activate when the surrounding temperature reaches a predetermined set point, typically between 135°F and 250°F. This type of detector is commonly used in fire detection systems where a rise in temperature is the primary indicator of a fire, such as in machinery spaces or other areas where a steady temperature is expected.
The other options are incorrect because line-type pneumatic, combined fixed temperature and rate-of-rise, and rate-of-rise detectors operate on different principles and are not compatible with the component shown in the illustration.
Related Questions
#200 If for any reason it is necessary to abandon ship while far at sea, it is important for the crew members to _______________.#201 The external flotation bladder on an immersion suit should be inflated _______________.#203 In a typical automatic fire alarm system, which of the listed actions will cause an indication of a fire to be given in the annunciator cabinet? #204 Bunker "C" is classified as a grade _______________.#205 What strategy for avoiding heat exhaustion is most likely to result in more severe pain as associated with heat cramps?