Question 151Steam Plants - Assistant Engineer70% to pass
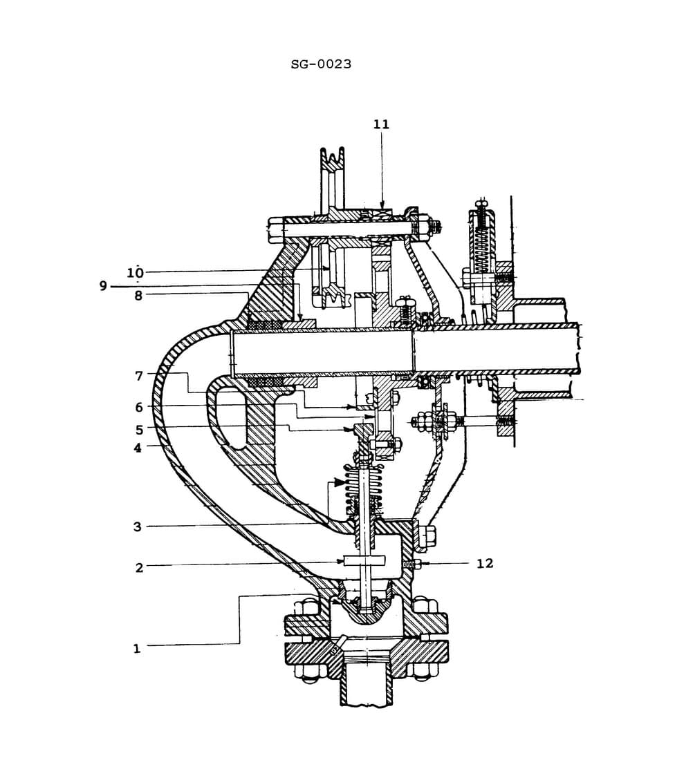
The purpose of the pressure control disk installed in the multi-nozzle soot blower, as shown in the illustration, is to _______________. Illustration SG-0023

AI Explanation
The correct answer is D) reduce the steam supply pressure to the soot blower element.
The pressure control disk installed in the multi-nozzle soot blower is designed to reduce the high-pressure steam supply to a lower pressure suitable for the soot blower's operation. This helps prevent damage to the soot blower components by limiting the pressure exerted on the system.
The other answer choices are incorrect because they do not accurately describe the purpose of the pressure control disk. Option A refers to controlling the pressure on the valve spring retainer, which is not the primary function of the pressure control disk. Options B and C are also incorrect, as the disk is not intended to control the pressure exerted on the steam valve disk or increase the pressure in the steam supply line.
Related Questions
#149 The purpose of the cam-actuated steam valve used in a boiler soot blower system is to _______________.#150 The boiler shown in the illustration, arrow "O" indicates the Illustration SG-0007 #152 The illustrated burner atomizer assembly is . Illustration SG-0022 #153 The amount of oil atomized by a straight mechanical fuel oil burner depends on the sprayer plate size and the _______________.#154 The primary purpose of the sprayer plate in a mechanical atomizing oil burner is to _______________.