Question 213Steam Plants - 1st Asst/Chief70% to pass
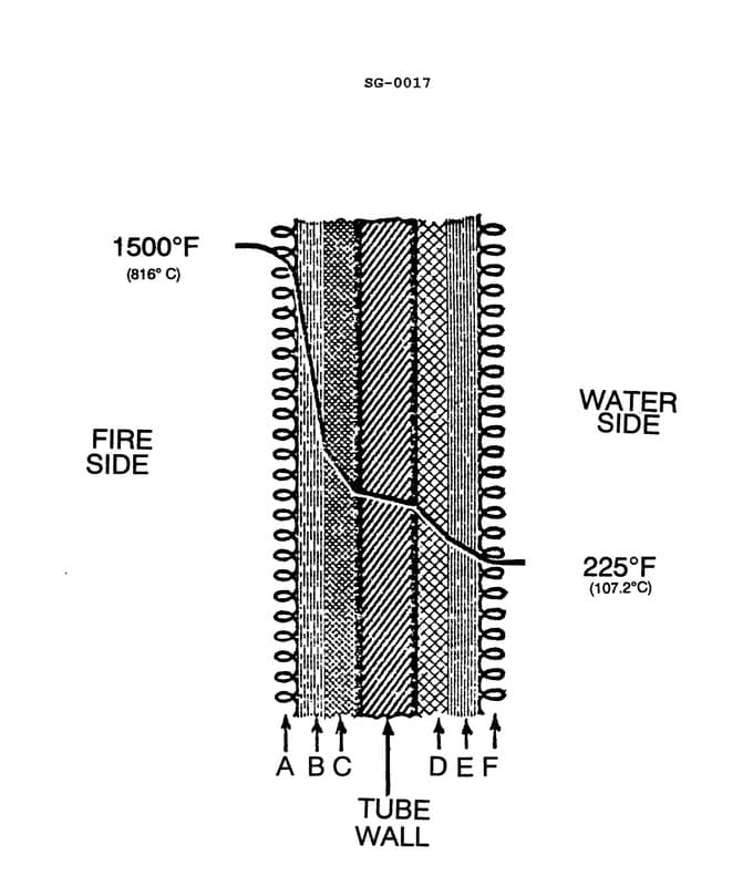
Which area shown in the illustration will offer the most resistance to heat transfer from the fireside to the waterside of a boiler tube? Illustration SG-0017

AI Explanation
The correct answer is B.
The area labeled B in the illustration will offer the most resistance to heat transfer from the fireside to the waterside of a boiler tube. This is because the tube scale, which is a layer of deposits that forms on the inside of the boiler tube, acts as an insulator and inhibits the efficient transfer of heat from the fire to the water. The tube scale has a much lower thermal conductivity compared to the metal of the boiler tube, making it the area that presents the greatest resistance to heat transfer.
The other options, A, C, and D, represent the metal of the boiler tube, the water, and the fire, respectively, which all have higher thermal conductivity and therefore offer less resistance to heat transfer compared to the tube scale.
Related Questions
#211 One advantage of installing water wall tubes in a boiler furnace is to _______________.#212 In most marine boilers, the primary reason the first few rows of generating tubes, called screen or furnace row tubes, are made larger in diameter than the rest of the generating tubes is because _______________.#214 Under what operating conditions may water wall header drains be used for blow down? #215 If a ship is to be laid up for an indefinite period, the steam side of the main condenser should be _______________.#216 The rate of heat transfer in a water-tube auxiliary boiler can be increased by _______________.