Question 4Steam Plants - QMED70% to pass
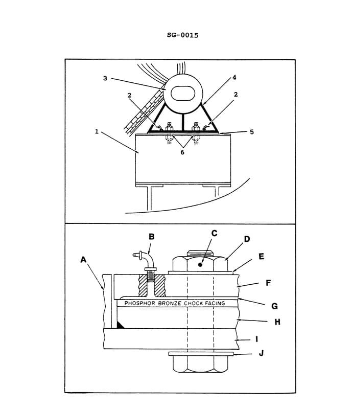
What statement is true concerning the illustrated boiler saddle, support and foot? Illustration SG-0015

AI Explanation
The correct answer is A) The illustrated foot is the sliding foot located underneath the front of the water drum.
The sliding foot located underneath the front of the water drum allows the boiler to expand and contract as it heats up and cools down, preventing stress on the boiler structure. This is the proper design to accommodate the thermal expansion of the boiler.
The other options are incorrect because the foot is not located underneath the rear of the water drum (B and D), and it is a sliding foot, not a fixed foot (C).
Related Questions
#2 To properly remove the burner tip nut from the burner barrel, the barrel should be _______________.#3 Which of the conditions listed would indicate a dirty fuel oil strainer? #5 As shown on the illustrated soot blower diagram, how is the soot blower element rotated? Illustration SG-0023 #6 When used for the purpose of controlling the temperature of main steam, what is the source of water and steam for the illustrated device? Illustration SG-0013 #7 As shown on the illustrated soot blower diagram, what item is responsible for opening and closing the steam admission poppet valve at the appropriate times during element rotation? Illustration SG-0023