Question 293General Subjects - Assistant Engineer70% to pass
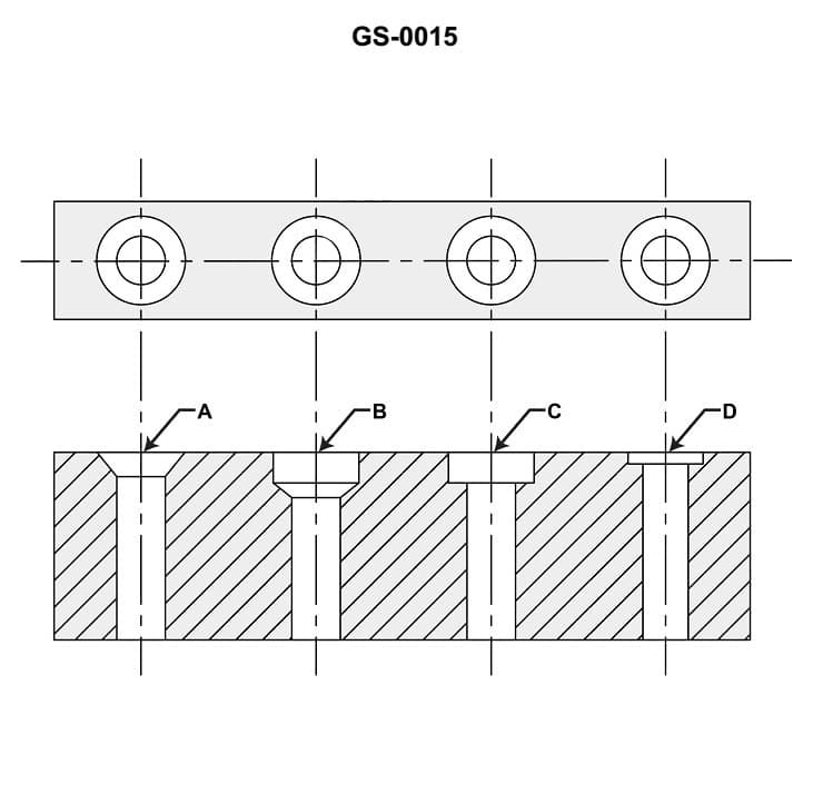
In the illustration shown, what is the proper description of the hole represented by "C"? Illustration GS-0015

AI Explanation
The correct answer is A) Counter bored.
A counter bore is a type of hole that is enlarged at one end, creating a stepped profile. This is often used to accommodate the head of a fastener, like a bolt or screw, so that it sits flush with the surface.
The other answer choices are incorrect:
B) Countersunk refers to a hole that is tapered at one end, rather than enlarged.
C) Counter drilled is not a standard term, and does not accurately describe the illustrated feature.
D) Spot faced refers to creating a flat surface around a hole, rather than enlarging the hole itself.
Related Questions
#291 In the illustration, line "D" is a/an _______________. Illustration GS-0006#292 A 'centerline' depicted in a drawing or blueprint is represented by which of the figures shown in the illustration? Illustration GS-0031 #294 In the illustration, line "J" is used to depict a/an _______________. Illustration GS-0006 #295 Which of the conditions listed does the blueprint symbol shown in the illustration represent? Illustration GS-0028 #296 In the illustration, line "C" is a _______________. Illustration GS-0006