Question 363General Subjects - QMED70% to pass
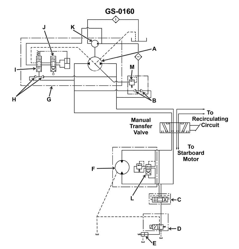
In the hydraulic anchor windlass system illustrated, if the power to the electric motor is on, but the wildcat turns slowly or not at all, even without a load being applied, and nearly normal pressure is indicated on the high side of the system, the probable cause is the _______________. Illustration GS-0160

AI Explanation
The correct answer is B) relief valve "L" is not closing.
If the wildcat is turning slowly or not at all, even without a load, and the pressure on the high side of the system is nearly normal, it indicates that the hydraulic system is not functioning properly. The likely cause is that the relief valve "L" is not closing, which allows the hydraulic fluid to bypass the windlass and prevent it from turning at the expected speed.
The other options are incorrect because: A) the manual transfer valve position is not relevant if the system is not functioning properly; C) a broken replenishing pump coupling would not cause the specific symptoms described; and D) the pressure from "E" bleeding off when "J" is in the operating position is not the issue here.
Related Questions
#361 If a lifeboat winch allows a lifeboat to descend to the water at an excessive speed, you should _______________.#362 The best method of fixing a winch motor bearing of the sealed type that is running hot is to _______________.#364 In the hydraulic anchor windlass system illustrated, if the power to the electric motor is on, but the wildcat does not turn, the pressure developed on either side of the system increases to half of the normal operating pressure regardless of the direction of movement in which the servo control is placed, the probable cause is the _______________. Illustration GS-0160 #365 In the hydraulic anchor windlass system illustrated, the main pressure relief valve opens as the load increases its strain on the system. The probable cause is the _______________. Illustration GS-0160 #366 The hydraulic system of a deck winch has been drained, flushed, and refilled with hydraulic fluid. An erratic knocking noise from the hydraulic motor when the winch is started would indicate _______________.