Question 280General Subjects - Assistant Engineer70% to pass
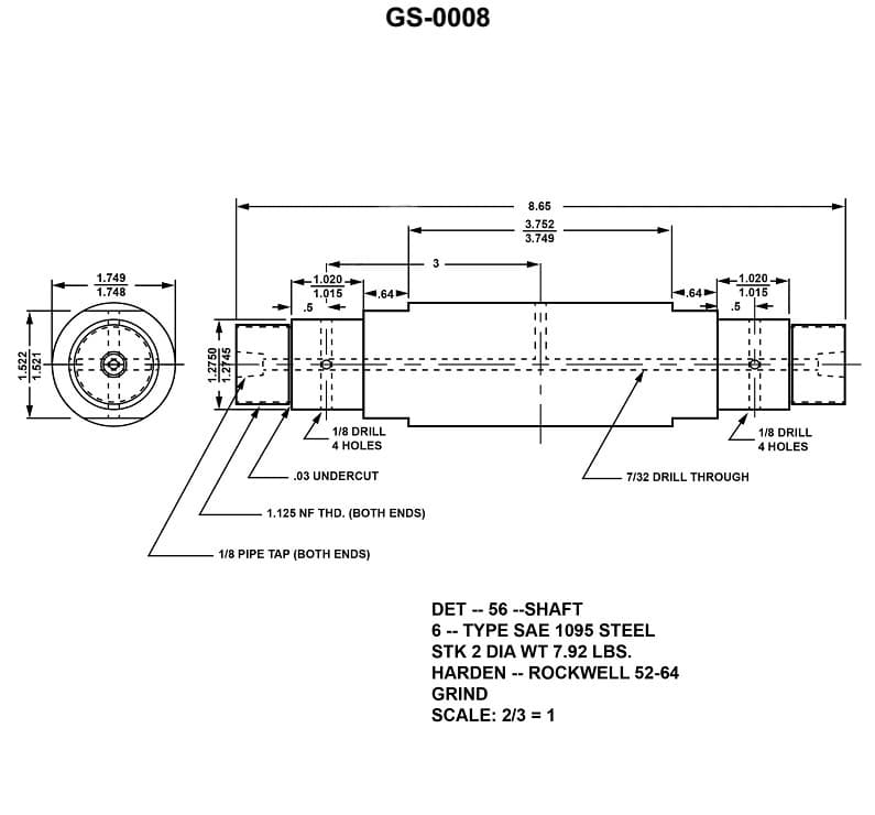
The physical feature indicated for each of the smallest diameter ends of the device illustrated is that they are _______________. Illustration GS-0008

AI Explanation
The correct answer is A) threaded.
The physical feature indicated for the smallest diameter ends of the device illustrated in GS-0008 is that they are threaded. This can be determined from the visual characteristics of the device shown in the illustration, which clearly depict threaded ends on the smallest diameter portions.
The other answer choices are incorrect because the ends are not described as having smooth surfaces with opposing machined flats (B), smoothed surfaces only (C), or threaded with opposing machined flats (D). The key identifying feature is the threaded ends, which makes option A the correct answer.
Related Questions
#278 The term, whole depth of the gear, shown in the illustration, is equal to _______________. Illustration GS-0111 #279 The illustration is drawn to a scale of 3/8 inch = 1 inch. What is the full size dimension of "X", if the scale lengths for "E" = 5/8", "F" = 1 3/8", "G" = 2 1/8", and "H" = 5 3/4"? Illustration GS-0007 #281 Which of the following statements is correct regarding the device shown in the illustration? Illustration GS-0008 #282 Figure "B", shown in the illustration, is dimensioned to indicate a/an _______________. Illustration GS-0019 #283 In the illustration shown, what is the distance indicated by dimension "I"? Illustration GS-0001