Question 282General Subjects - Assistant Engineer70% to pass
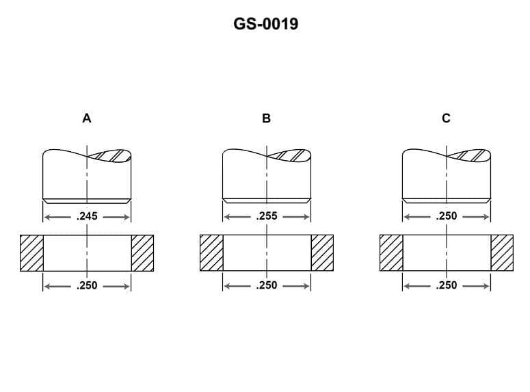
Figure "B", shown in the illustration, is dimensioned to indicate a/an _______________. Illustration GS-0019

AI Explanation
The correct answer is A) interference fit.
The illustration GS-0019 indicates that Figure "B" is dimensioned to show an interference fit, which means that the two mating parts are designed to fit together tightly with an overlap in their dimensions. This type of fit is commonly used in mechanical assemblies to ensure a secure and stable connection between components.
The other answer choices are incorrect because they do not accurately describe the type of fit indicated in the illustration. B) clearance of 0.005 inch would indicate a loose fit, C) running fit would suggest a sliding fit, and D) tolerance of 0.005 inch does not specify the type of fit.
Related Questions
#280 The physical feature indicated for each of the smallest diameter ends of the device illustrated is that they are _______________. Illustration GS-0008 #281 Which of the following statements is correct regarding the device shown in the illustration? Illustration GS-0008 #283 In the illustration shown, what is the distance indicated by dimension "I"? Illustration GS-0001 #284 The illustration shown represents a blueprint of a metal_______________. Illustration GS-0028 #286 The shaft shown in the illustration has an overall length of 42 inches in addition to the following dimensions of "A" = 8", "B" = 8", "C" = 10", and "D"=8 3/16". The tapered length "X" is . Illustration GS-0133